一、活性炭吸附设备简介
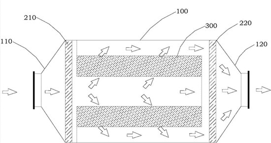
活性炭吸附脱附废气处理设备(ACF)是利用活性炭(纤维)对有机溶剂的强吸附性而研发生产的的。对于低浓度大风量的有机废气,活性炭吸附设备有非常高的净化效率。
活性炭吸附脱附废气处理设备完整的工艺流程是:吸附浓缩-脱附再生-溶剂分离回收,由并联的两个或三个活性炭(纤维)吸附器和一套脱附回收装置组成。它具有技术成熟、性能稳定、吸附能力强、可回收原材料、尾气排放浓度低、安全可靠等优点。
二、活性炭吸附脱附设备工作原理
|
型号 |
外形尺寸 |
通风截面积m² |
装炭量m³ |
风量 |
|
YLHXT-0.5 |
1600*1200*1800 |
1.92 |
0.38 |
5000 |
|
YLHXT-0.8 |
1800*1200*1800 |
2.4 |
0.48 |
8000 |
|
YLHXT-1 |
2000*1300*1800 |
2.88 |
0.58 |
10000 |
|
YLHXT-1.5 |
2300*1300*1800 |
3.6 |
0.72 |
15000 |
|
YLHXT-2 |
2600*1500*1800 |
4.3 |
0.86 |
20000 |
|
YLHXT-3 |
3000*1500*1800 |
5.3 |
1.06 |
30000 |
|
YLHXT-4 |
3600*1700*1800 |
6.72 |
1.34 |
40000 |
|
YLHXT-5 |
4000*1700*1900 |
8.32 |
1.66 |
50000 |
|
YLHXT-6 |
4600*2000*1900 |
9.88 |
1.98 |
60000 |
|
YLHXT-7 |
5000*2000*2000 |
11.76 |
2.35 |
70000 |
|
YLHXT-8 |
5000*2200*2200 |
13.44 |
2.69 |
80000 |
|
YLHXT-9 |
5500*2200*2200 |
15.04 |
3 |
90000 |
|
YLHXT-10 |
6000*2200*2200 |
16.64 |
3.33 |
100000 |
华烯环保

漆渣水分离机:HX-800
湿式静电除尘设备
脉冲布袋除尘设备
烟气处理设备
双介质低温等离子
UV光解等离子一体机
洗涤塔废气处理设备
CO炉催化燃烧设备


【手机扫码访问】