

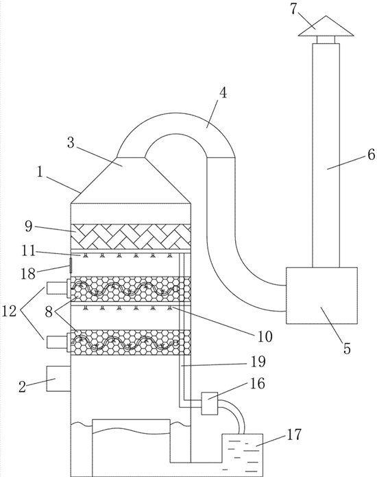
喷淋洗涤塔实物图
|
型号 |
尺寸 |
功率 |
风量 |
|
|
|
||||
|
YLPL-0.5 |
DN1000*5500 |
1.5 |
5000 |
|
|
YLPL-1 |
DN1400*5500 |
2.2 |
10000 |
|
|
YLPL-2 |
DN2000*6500 |
3.75 |
20000 |
|
|
YLPL-3 |
DN2500*7500 |
5.5 |
30000 |
|
|
YLPL-4 |
DN2800*7500 |
7.5 |
40000 |
|
|
YLPL-5 |
DN3000*7500 |
7.5 |
50000 |
|
|
型号 |
长*宽*高 |
功率 |
风量 |
|
YLPL-6 |
7*3*3 |
11 |
60000 |
|
YLPL-7 |
7.5*3.2*3.4 |
7.5*2 |
70000 |
|
YLPL-8 |
8*3.2*4 |
7.5*2 |
80000 |
|
YLPL-9 |
8*3.5*4 |
11*2 |
90000 |
|
YLPL-10 |
10*3.5*4.5 |
11*2 |
100000 |
华烯环保

漆渣水分离机:HX-800
湿式静电除尘设备
脉冲布袋除尘设备
烟气处理设备
双介质低温等离子
UV光解等离子一体机
活性炭吸附净化装置
CO炉催化燃烧设备


【手机扫码访问】